Zurück zu
AS-Motor
>
AS 45 Ausputzmäher
>
AS 45 B2/4T
>
Grundmotor
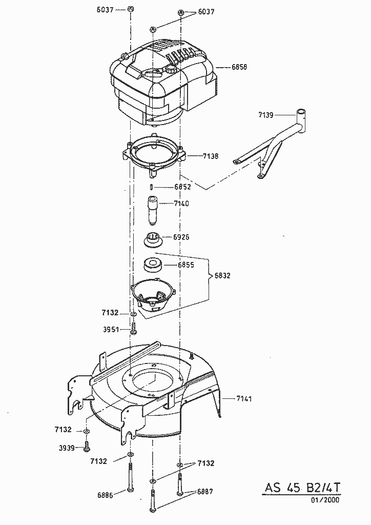
Ersatzteillisten für AS Motor AS 45 Ausputzmäher Grundmotor
Pos.
Bezeichnung
Ersatzteilnummer
3939
SECHSKANTSCHRAUBE
E03939
3951
SECHSKANTSCHRAUBE
E03951
6037
SICHERUNGSMUTTER
E06037
6832
LAGERTOPF VOLLST.
E06832
6852
PAßFEDER F.B&S INTEK
E06852
6855
RILLENKUGELLAGER
E06855
6858
Motor B&S INTEK (ohne Abtrieb)
E06858
6886
SECHSKANTSCHRAUBE
E06886
6887
SECHSKANTSCHRAUBE
E06886
6926
SCHLEUDERSCHEIBE
E06926
7132
SPERRKANTSCHEIBE
E07132
7138
MOTORADAPTER 45B2/4T
E07138
7139
SCHWENKROHR VOLLST.45B2/4T
E07139
7140
MESSERTRÄGER M.SCHLEUDERSCH.
E07140
7141
MESSERHAUBE KOMPL.45B2/4T
E07141
Gebrauchsanweisungen
AS Motor
AS Batterierasenmäher
AS 45 Ausputzmäher
AS 45 B2/2
AS 45 B2/3
AS 45 B2/4T
Gehäuse
Grundmotor
Holm
Messer
AS 46 Variomat
AS 45 Universal
AS 53 Standard
AS 53 Allrad
AS 55 Heckauswurf
AS 550 Heckauswurf
AS Allmäher
AS Enduro
AS Schlegelmäher
AS Mulchmeister
AS Aufsitzmäher
Samix Gartenhäcksler
AS Wildkraut-Hex
Verschleissteile
Impressum
(C) by motoruf