Zurück zu
AS-Motor
>
AS 45 Universal
>
AS 45 B4/4T
>
Grundmotor
Ersatzteillisten für AS Motor AS 45 Universal Grundmotor
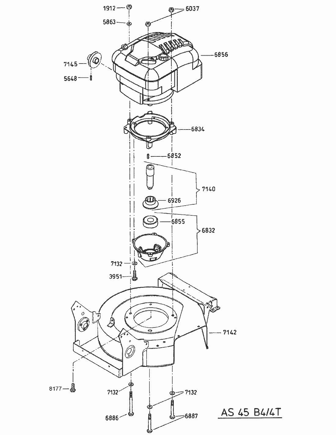
Pos.
Bezeichnung
Ersatzteilnummer
1912
SECHSKANTMUTTER
E01912
3951
SECHSKANTSCHRAUBE
E03951
5648
SPANNSTIFT
E05648
5863
SPERRKANTSCHEIBE
E05863
6037
SICHERUNGSMUTTER
E06037
6832
LAGERTOPF VOLLST.
E06832
6834
MOTORADAPTER
E06834
6852
PAßFEDER F.B&S INTEK
E06852
6855
RILLENKUGELLAGER
E06855
6856
MOTOR B&S INTEK (ABTRIEB LI.)
E06856
6886
SECHSKANTSCHRAUBE
E06886
6887
SECHSKANTSCHRAUBE
E06887
6926
SCHLEUDERSCHEIBE
E06926
7132
SPERRKANTSCHEIBE
E07132
7140
MESSERTRÄGER M.SCHLEUDERSCH.
E07140
7142
MESSERHAUBE KOMPL. 45B4/4T
E07142
7145
MOTORRIEMENSCHEIBE 45B4/4T
E07145
8177
SICHERUNGSSCHRAUBE
E08177
Gebrauchsanweisungen
AS Motor
AS Batterierasenmäher
AS 45 Ausputzmäher
AS 46 Variomat
AS 45 Universal
AS 45 B4/4T
Gehäuse
Grundmotor
Holm
Messer bis FNr. 013903202999
Messer ab FNr. 013903303001
Fangsack
HRB
DOB
AS 45 B3A
AS 45 B4
AS 53 Standard
AS 53 Allrad
AS 55 Heckauswurf
AS 550 Heckauswurf
AS Allmäher
AS Enduro
AS Schlegelmäher
AS Mulchmeister
AS Aufsitzmäher
Samix Gartenhäcksler
AS Wildkraut-Hex
Verschleissteile
Impressum
(C) by motoruf